Guida rapida all'installazione | |
---|---|
Note sulla Sicurezza Posizionare il dispositivo come consigliato nella presente guida. Non esporre il dispositivo alla luce diretta del sole, in prossimità di fonti di calore, non ostruire i fori di ventilazione. Evitare il contatto del dispositivo e relativi cavi e accessori con l’acqua o altre fonti di umidità. Attenzione: per prevenire danni durante l'installazione, assicurarsi che il terminale NON sia collegato all’alimentazione e che il monitor sia spento. |
|
Installazione sul retro del monitor con aggancio VESA Il dispositivo può essere installato anche sul retro di un monitor utilizzando l’apposito kit di fissaggio VESA (opzione P/N 80EC00062). Il kit include la staffa di fissaggio con foratura VESA standard. NB: è disponibile la staffa per il montaggio su barra DIN (P/N 80EC00063). Contattare il rivenditore per maggiori informazioni. |
|
Dispositivo Vista anteriore ![]() Vista posteriore ![]() |
|
Collegamento del monitor I connettori per il collegamento dei monitor si trovano sul pannello posteriore del dispositivo. Se si possiede un cavo con connettore HDMI effettuare il collegamento alla porta HDMI (9). Se si possiede un cavo con connettore VGA effettuare il collegamento alla porta VGA (11) |
|
Collegamento del cavo di rete Collegare il cavo Ethernet RJ45 alle porte (12) LAN poste sul retro del dispositivo. |
|
Collegamento di periferiche RS232 Le periferiche RS232 possono essere collegate tramite la porta posteriore (10). |
|
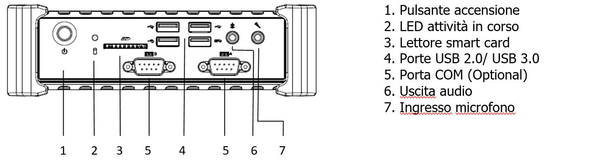
Collegamento di periferiche USB Le periferiche USB possono essere collegate sui connettori frontali (4). Il colore azzurro del connettore USB indica la versione 3.0. |
|
Collegamento dell’alimentatore Inserire lo spinotto dell’alimentatore nel connettore (8) indicato nella figura. Collegare il cavo di rete all’alimentatore e alla presa di corrente. L'alimentatore riconoscerà automaticamente la tensione di alimentazione di rete (110-240 V AC). |
|
Accensione del dispositivo Per accendere il dispositivo, utilizzare il tasto di accensione (1). |
|
Pochi secondi dopo l’accensione, comparirà a video la sequenza di caricamento. La sequenza e il tempo possono variare in base al modello acquistato. Una volta terminata questa fase, seguire le informazioni a video per eseguire la configurazione di base. |
|
Username e Password preimpostate (Case sensitive) |
ThinOX | Win10 IoT | |
---|---|---|
Administrator | ||
Username | -- | Admin |
Password | -- | Admin |
User | ||
Username | -- | User |
Password | -- | User |